欢迎光临岳阳市十三中学网站!
加入收藏
|
设为首页
网站首页
学校概况
学校概况
领导信息
组织机构
教师风采
联系我们
校园信息
校园新闻
图片新闻
视频新闻
专题
最新公告
德育工作
班主任工作
家长学校
德育活动
平安校园
心理健康教育
安全保卫
学生会
助学基金
教学常规
教育教学管理
考试考务
成果展示
图书室
实践出真知
招生工作
高考学考
教育科研
高考学考
高效课堂建设
教师论文
案例反思
科研课题
教研动态
教师培训
教学竞赛
党建工作
党建工作
创先争优活动
团队建设
校务公开
法律法规
岗位设置
职务晋升
年度考核
评优评先
招聘工作
教工之家
工会机构
教工文化生活
民主管理
健康之友
教代园地
后勤服务
食品安全卫生
卫生健康常识
律动青春
信息中心
栏目导航
党建工作
创先争优活动
团队建设
最新通知
·
致新生的欢迎辞
·
喜报--2019年7月
·
2019十三中招生简章
·
光荣榜
·
喜报--2018年9月
·
2018年下学期第一次升旗仪式讲话稿
·
让每天都进步 ——在2018年下学期
推荐新闻
·
2018高考喜报
当前位置:
首页
>>
党建工作
>>
党建工作
>> 正文
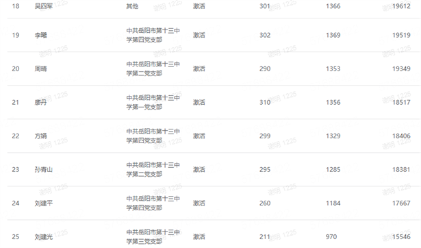
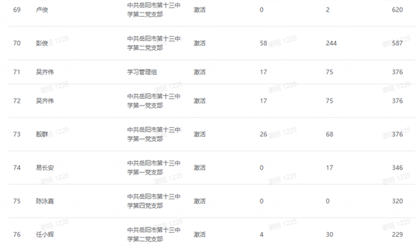
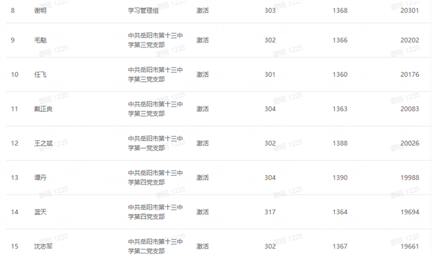
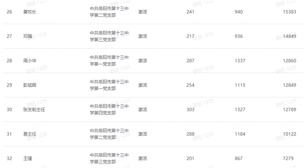
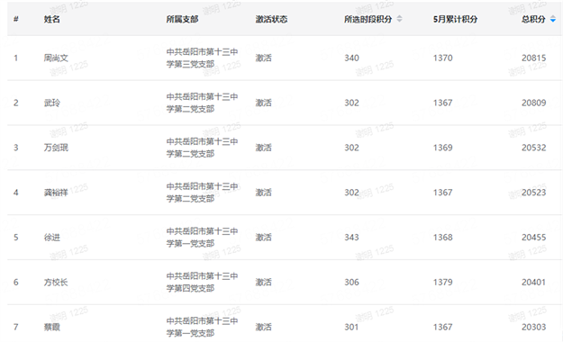
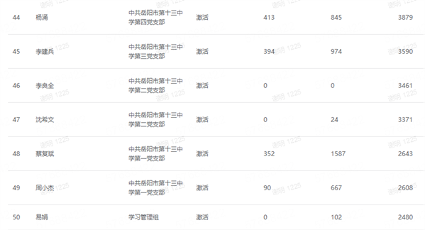
五 月份党员“学习强国”积分情况通报 2
作者:
来源:
发布时间:2020-11-25
【打印】
【收藏 】
【关闭】
上一篇:
五 月份党员“学习强国”积分情况通报 1
下一篇:
六月份党员“学习强国”积分情况通报
Copyright © 2013 All Rights Reserved
学校地址:岳阳市岳阳市岳阳楼区031县道 联系电话:0730-3255980